Parts Feeder マメ・マメ辞典

COLUMN

第76回 ボウルの止め位置について~中心止めの薦め~

みなさん!突然ですが、ボウルの止め方にいくつかのタイプがあるのをご存知ですか?
今回は、我々が考えるボウル止めについて書いて見ました。

【 ボウル止めタイプ 】

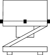
中心止め
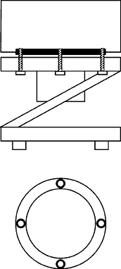
フランジ付き4点止め
ボウル横3点止め
中心止めイラスト
フランジ付き4点止めイラスト
ボウル横3点止めイラスト

今後、海外に生産拠点を!また現地化を!と考えた時に、求められる事として、
『早くて・簡単で・現地での人間で対応出来て、又、物が敏速に揃えられる』
と言う条件をクリア出来る状態を準備する必要があります。
その中で、ボウルの止め方一つにしても、3つの止め方がありますが、どのタイプが条件に合う止め方かは、もうお分かりですよね?

そうです!『中心止め』です!!
そして精度の高いボウル(中心止め)作りが出来る裏付けとして、神鋼電機さんから出ている本体があるからです。
第33回 本体いろいろ 参照

また、今度消耗品リストや修理品リスト (例:コイルなら巻数や板バネなら材質・寸法などの資料)が、益々現地生産を行なう上では、大切になって来ると思います。

今回は、ボウルの止め方を例に挙げましたが、今度の一連の流れの中では、製造仕様の充実、客先への公示がキーポイントになって行くと思います。
(第66回 今、求められているパーツフィーダとは!!参照)

【用語辞典】
フランジ」: 本体とボウルの間にある固定用円盤


 
次回は、 「海外パーツフィーダ稼動視察記〜その2〜」の予定です。
 

 
ご意見・ご質問はお気軽に下記までお願いします。
電話:
03-6715-7360 (日新パーツ)