Parts Feeder マメ・マメ辞典
COLUMN
第78回 海外パーツフィーダ稼動視察記~その3~
架台
今回のテーマは、「架台」です。
まず、パーツフィーダの生命線は振動です。
何事もそうですが、生命線が発揮されない場合、力(機能)が半減もしくは半減以上になってしまいます。
そして、パーツフィーダの生命線となる振動を良くも悪くもしてしまうのが架台・台板などの設置台です。
架台については、コラム「第9回パーツフィーダの設置の大事さについて」にて掲載しています。
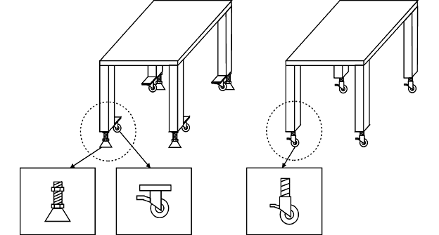
実際、私がタイで見た架台は、キャスター付の架台(下図参照)だったのです。
キャスター付の架台の場合、レイアウト変更時などには便利ですが、パーツフィーダを稼動させる上では、振動を逃がしてしまう可能性が高いので不向きとされています。
しかし、稼動条件によってキャスタータイプを使用する時があると思います(今回私が見たように)。
その時は、固定台付キャスタータイプ(下図参照)であれば、振動時には金具を調整してキャスターを浮かしてしまえば、固定台として使用し、移動時はキャスターを利用するという形を取れば問題ありません。
良い物を 提供したいという思いと、良く使って欲しい、という願望がこのコラムを書き続けている動機の一つですが、その後、担当者に架台によっての振動の違いを実際見てもらいましたので、今度は、振動の逃げない架台を準備して作業をしていってくれると思います。
実際に起きた事例を知って、未来に起きないようにする事が大事ですが、、、、
自分たちが得た情報を多くの人に知ってもらうように、“事例集” みたいな物をまとめる必要があるのかなー!! などと思っています。
|
【 架台タイプ図 】 [固定台付キャスター:O.K] [キャスター:NG]
|
