
Parts Feeder マメ・マメ辞典
COLUMN
第43回 ツーリング(アタッチメント)No9,10
掲載アタッチメント選別メニュー
|
番号
|
名称
|
ワーク
|
|
No. 7
|
ピン
|
水晶振動子
|
|
No. 8
|
シルエット
|
取っ手
|
|
No. 9
|
フード付きスキャロップ
|
オイルシール
|
|
No.10
|
渡し板
|
鍔付きピン
|
|
No.11
|
一本レール
|
親板
|
|
No.12
|
引っ掛けピン(長穴)
|
段付きピン
|
*尚、この資料の出展は日本部品供給装置工業会から流用しました。
又、名称については業界用語で掲載しています。
又、名称については業界用語で掲載しています。
No.9 フード付きスキャロップ / オイルシール
[選別方法]
オイルシール等、薄く且つ凹部のあるキャップ状ワークの場合、
縁付き負角走路に『波状切り欠き(スキャロップ)』を設け、開口部上の搬送と開口部下の抜け落ちを良くさせ、開口部が上の場合はそのまま通過させ、開口部が下の場合は『波状切り欠き(スキャロップ)』により落下させる手法。
『波状切り欠き(スキャロップ)』の形状・ピッチは、主にワークの内径・外形によって決めるが、重量・搬送スピード等、抜け落ちの慣性度も配慮する。
オイルシール等、薄く且つ凹部のあるキャップ状ワークの場合、
縁付き負角走路に『波状切り欠き(スキャロップ)』を設け、開口部上の搬送と開口部下の抜け落ちを良くさせ、開口部が上の場合はそのまま通過させ、開口部が下の場合は『波状切り欠き(スキャロップ)』により落下させる手法。
『波状切り欠き(スキャロップ)』の形状・ピッチは、主にワークの内径・外形によって決めるが、重量・搬送スピード等、抜け落ちの慣性度も配慮する。

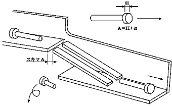
No.10 渡し板 / 鍔付きピン
[選別方法]
鍔先で進んできたワークは、『2本レール』で瞬間的に『首吊り』となりそのまま通過し、
ピン先で進んできたワークは上段トラックと2本レールの間の『隙間』で『首吊り』にならず落下させる手法。
鍔先で進んできたワークは、『2本レール』で瞬間的に『首吊り』となりそのまま通過し、
ピン先で進んできたワークは上段トラックと2本レールの間の『隙間』で『首吊り』にならず落下させる手法。

次回は、 「ツーリング(アタッチメント)No.11,12」の予定です。
|
ご意見・ご質問はお気軽に下記までお願いします。
|
||
|
電話:
|
03-6715-7360 (日新パーツ) | |
|
メール:
|
support@partsfeeder.jp | |