
Parts Feeder マメ・マメ辞典
COLUMN
第29回 ツーリング(アタッチメント)No.3,4
以前、「ツーリングはマジックではなく、物理特性を把握して行う科学的なことです」とか、
「適正なツーリングを施したパーツフィーダは性能も良く、且つ美しい」とか書きましたが、
ここから3週にわたってツーリング(アタッチメント)の事例を具体的に(イラストにて)掲載します。
掲載アタッチメント選別メニュー
|
番号
|
名称
|
ワーク
|
|
No.1
|
傾斜
|
コネクタ
|
|
No.2
|
ヤジリ
|
トランジスタ
|
|
No.3
|
切り欠き
|
升(ます)
|
|
No.4
|
スロット
|
発光ダイオード
|
|
No.5
|
縁付きスキャロップ
|
キャップ
|
|
No.6
|
ヤマセン
|
とんがりピン
|
*尚、この資料の出展は日本部品供給装置工業会から流用しました。
又、名称については業界用語で掲載しています。
又、名称については業界用語で掲載しています。
No.3 切り欠き /升(ます)
[選別方法]
升(ます)の重心差を利用し、升(ます)の重心は底側にあるので、升(ます)底が
側壁に沿って進んできた場合はそのまま通過させ、反対に進んできた場合は、落下させる手法
升(ます)の重心差を利用し、升(ます)の重心は底側にあるので、升(ます)底が
側壁に沿って進んできた場合はそのまま通過させ、反対に進んできた場合は、落下させる手法

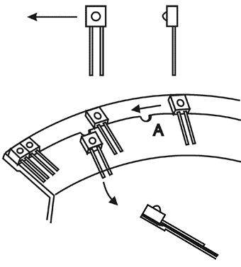
No.4 スロット / 発光ダイオード
[選別方法]
発光ダイオード吊り搬送を行うツーリングの縁に発光ダイオードのレンズ形状に合わせた「スロット」部(A)を作る。
Aの「スロット」部により、レンズ下向きは落下させ、レンズ上向きは通過させる手法。
発光ダイオード吊り搬送を行うツーリングの縁に発光ダイオードのレンズ形状に合わせた「スロット」部(A)を作る。
Aの「スロット」部により、レンズ下向きは落下させ、レンズ上向きは通過させる手法。

次回は、 「ツーリング(アタッチメント)No.5,6」の予定です。
|
ご意見・ご質問はお気軽に下記までお願いします。
|
||
|
電話:
|
03-6715-7360 (日新パーツ) | |
|
メール:
|
support@partsfeeder.jp | |